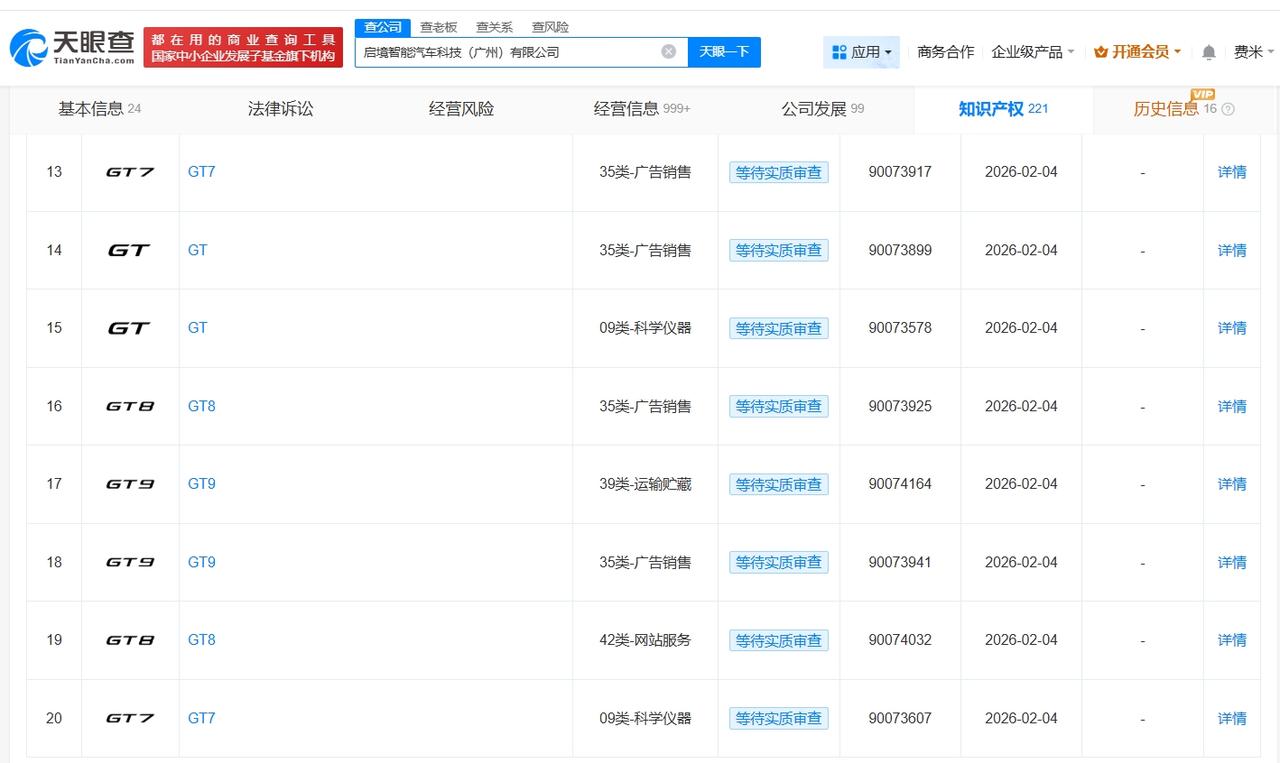
启境汽车今年已申请GT7商标 启境汽车已申请GT8和GT9商标华为全新一代技术上车启境GT7 据媒体报道,今日,启境GT7亮相2026北京车展,据悉,其将搭载全新一代HUAWEIXPIXEL双百万像素彩色智慧投影大灯,预计6月将正式上市。 天眼查知识产权信息显示,今年2月,启境汽车关联公司启境智能汽车科技(广州)有限公司已申请注册多枚“GT7”“GT8”“GT9”商标,国际分类包括科学仪器、广告销售等,目前商标状态均为等待实质审查。 该公司成立于2025年3月,法定代表人为閤先庆,注册资本21亿人民币,经营范围包括汽车销售、汽车零部件及配件制造、汽车零配件批发等,由广州汽车集团股份有限公司、广汽埃安新能源汽车股份有限公司共同持股。 天眼查信息:


