小米汽车的两个发明专利,图1、图2是后备箱衣帽架储物盒,配有滑轨,可以前后滑动,做车上的移动衣帽间。
图3、图4是车内岛台桌板,展开时 可以满足桌面办公和放置物品的需求。
看起来这两个专利极有可能装载在小米YU9上,带来一些不一样的玩法,不过大概率不是标配。
感觉比车载马桶实用。




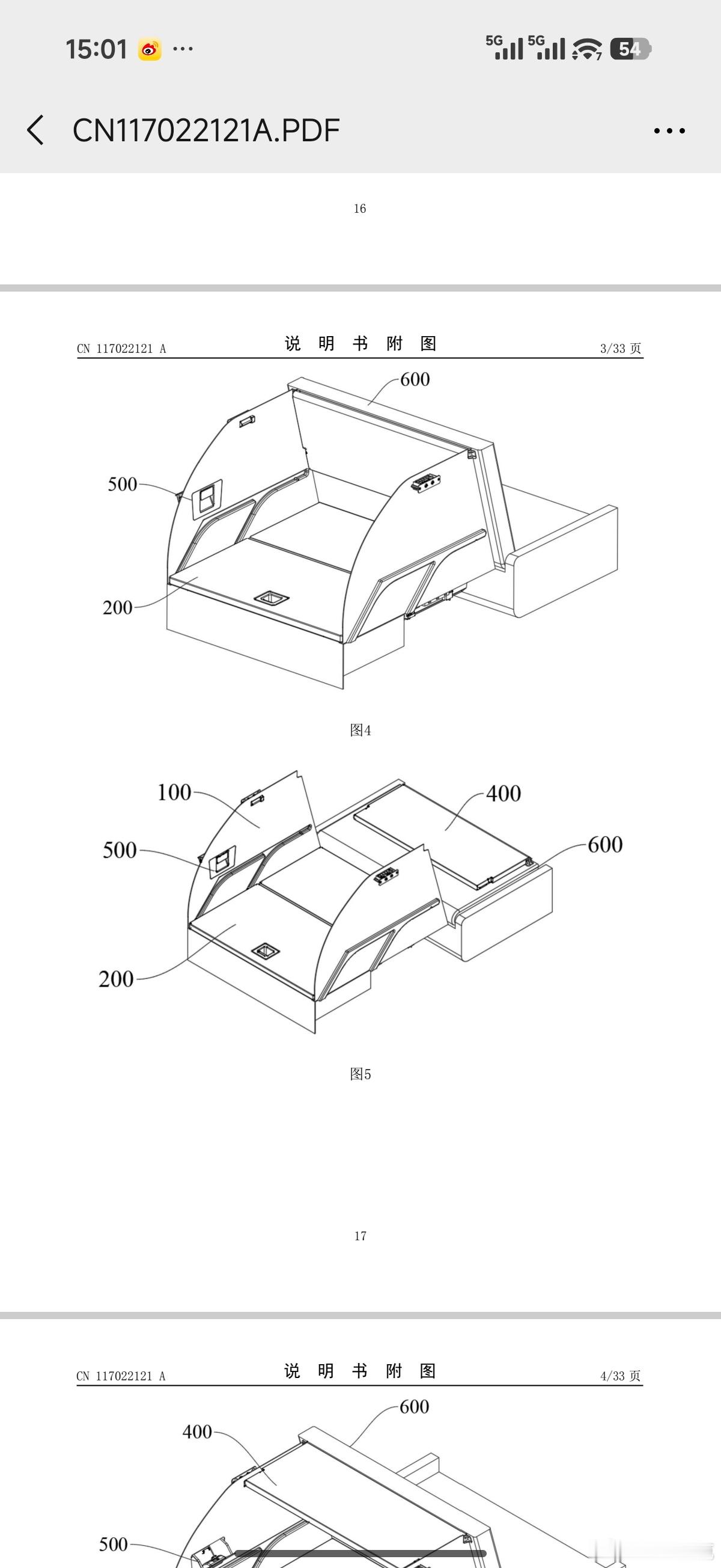
小米汽车的两个发明专利,图1、图2是后备箱衣帽架储物盒,配有滑轨,可以前后滑动,做车上的移动衣帽间。
图3、图4是车内岛台桌板,展开时 可以满足桌面办公和放置物品的需求。
看起来这两个专利极有可能装载在小米YU9上,带来一些不一样的玩法,不过大概率不是标配。
感觉比车载马桶实用。




作者最新文章
热门分类
汽车TOP
汽车最新文章