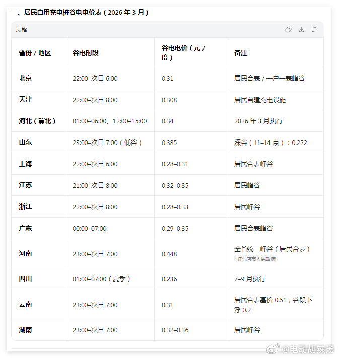
看了下海南现在的谷电电价,不禁感叹河南的电价还是真的贵啊!于是让豆包查了下,确实

诗蕾漫说汽车啦 2026-03-30 17:28:57

看了下海南现在的谷电电价,不禁感叹河南的电价还是真的贵啊!

于是让豆包查了下,确实,河南的谷电电价目前来看应该是全国最贵了!

0 阅读:11
诗蕾漫说汽车啦

诗蕾漫说汽车啦

感谢大家的关注