主动悬挂技术现在越来普及了对吧。从 48V 防倾杆开始,到奥迪上的 Predictive Active Suspension (可看作主动防倾杆技术升级版),再到法拉利 FAST,保时捷 PDCC/PAR,蔚来 ClearMotion 等等。这些技术主要还是着眼于车辆的垂向、俯仰以及侧倾控制,以及轮胎动态载荷控制。
它们可以更好的平衡驾驶和乘坐需求,可以动态分配前后轴侧倾刚度比,配合后轮转向这种等效可变后轴侧偏刚度的技术,实现更高动态性能的同时抑制车身动作。
但对于那些专注驾驶,需要榨干每一分轮胎牵引力的车来说,这些还不够。 因为以操控为中心车辆上,车身动作控制反而是第二位的,第一位的则是发挥轮胎牵引力。前面说的那些主动悬挂技术可以解决轮胎动载,也就是可以保证任何状态下的轮胎有效接地,但是它们不能解决轮胎纵向、横向力最大化的问题。 换句话说,我们还需要一种可以把得到的轮胎载荷高效转化为轮胎力的能力。 后轮转向在一定程度上可以做到,但是不够完善全面。
悬挂是一个几何结构,根据行程变化在空间中会产生一个三维轨迹,这也就是轮胎实际运动轨迹。所以要轮胎力最大化,必须在这个固定轨迹上下手。所以,可以动态改变几何结构的能力就成为必须。 23 年的时候,兰博基尼有一个专利,叫做 AWC,Active Wheel Control 网页链接 。 说白了它是在转向节上下手,通过电机,螺杆,斜盘,可以动态改变轮胎前束和外倾。四个转向节可以装四个 AWC,这样无论何种情况下最可以保证把有效载荷高效转化为牵引力。而保时捷近日提供的最新专利,则是通过动态改变悬挂几何结构来实现的。
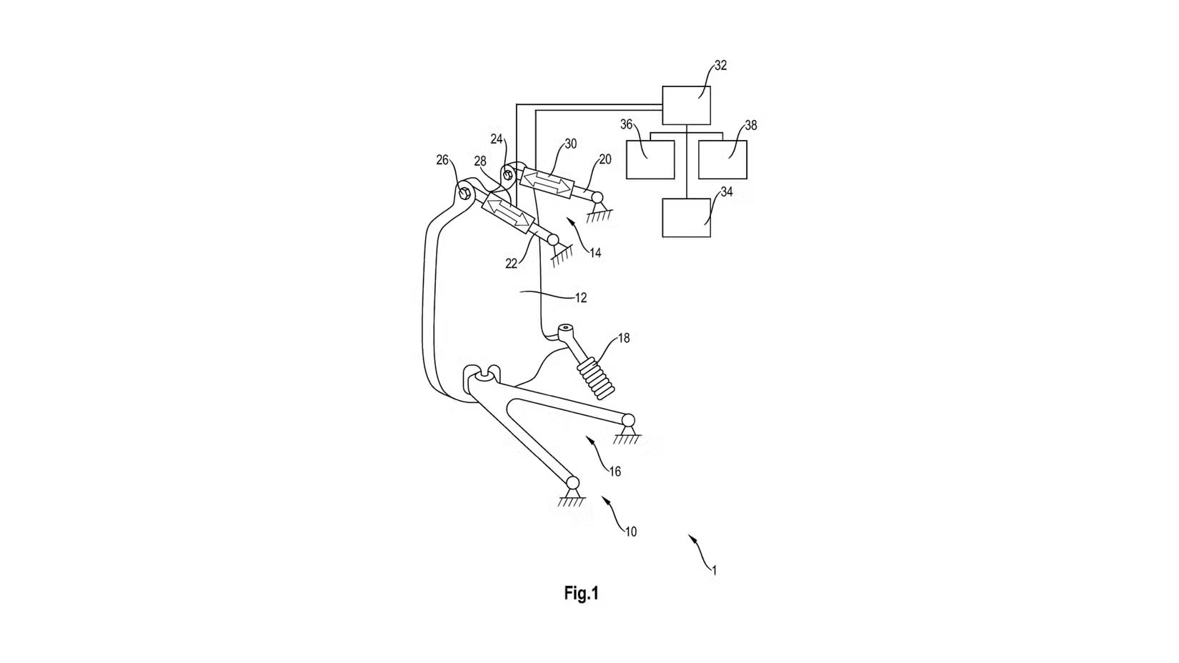
悬挂又各种拉杆,摆臂组成,如果这些部件可以动态改变长度,那么几何结构就会发生改变,进而动态改变轮胎轨迹。这种实现方法相对于兰博的专利,更容易实现,看起来也更加简单稳定。说白了就是在双叉臂结构的车上,比如 GT3/GT3 RS,在上臂与转向节铰接点上使用可变长度拉杆,在轮胎上跳或者下跳时进行外倾补偿调节,根据轮荷实现最佳接地。而且,保时捷不光照顾双叉臂车型(或者说多连杆),他们同时提交了另外一个专利,可以装在麦佛逊车辆上,通过独立的转向节动态拉杆调节。
别不正经说车保时捷


