杨瀚森工作室启动法律程序近日,杨瀚森工作室发声明称,一家名为“杨瀚森文化传媒(

付政浩啊 2025-12-17 12:57:08

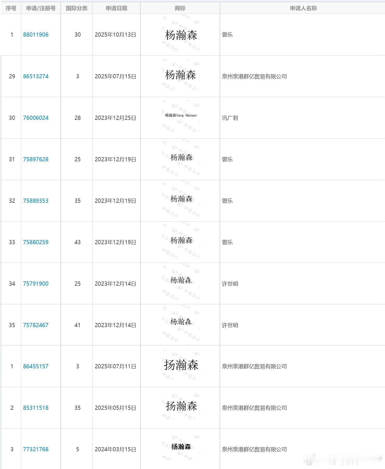
杨瀚森工作室启动法律程序 近日,杨瀚森工作室发声明称,一家名为“杨瀚森文化传媒(重庆)有限公司”的机构,在未经授权的情况下,擅自以“杨瀚森”名义注册公司,并违规举办所谓“杨瀚森杯”篮球商业赛事,在宣传物料上擅自使用杨瀚森的姓名及照片,进行虚假商业宣传。据企查查显示,“杨瀚森文化传媒(重庆)有限公司”注册于2025年5月15日。这种"注册公司+赛事捆绑+肖像盗用"的三位一体侵权模式,不仅暴露了体育界名人姓名权保护的脆弱性,更折射出我国抢注名人商标的不当牟利行为正在全面产业化的趋势。 体育行业一直是被抢注商标的重灾区,一众体育明星姓名被抢注为商标的案例屡见不鲜,比如,早年姚明曾状告“姚明一代”,NBA传奇巨星迈克尔-乔丹状告“中国乔丹体育”,易建联为夺回姓名商标权不得不多次提起诉讼。2021年东京奥运会后,国家知识产权局曾一次性驳回109件抢注奥运冠军姓名的商标申请,涉及全红婵、杨倩等奥运冠军。如今,杨瀚森也遭遇这种情形,杨瀚森的姓名被多个主体抢注为商标,青岛瀚森体育经纪有限公司为保护杨瀚森的权益也在今年防御性注册了28类涉及杨瀚森姓名的商标。针对杨瀚森姓名被多个主体抢注的乱象,杨瀚森经纪公司已委托北京磐华律师事务所合伙人、专注商标代理和诉讼等知识产权业务的王辉律师团队来处理这些侵权行为。王辉律师介绍了杨瀚森被抢注商标的具体情况和处置对策。据王辉律师介绍,这次不仅要向“杨瀚森文化传媒(重庆)有限公司”追责,目前还发现有六个主体已成功注册了杨瀚森的商标,这些注册成功的多是在2023年12月份申请的,主要涉及到体育培训、鞋服、广告赞助等类别。另外,还有一些围绕杨瀚森姓名的变体商标,比如“瀚森杨”、“扬瀚森”等。依据《商标法》 的相关规定,将对这些已注册商标已提起无效申请;对在初审公告期的商标,也准备提起异议申请。正常情况下,这些违规抢注商标会被宣告无效或不予核准注册,如果在行政程序中未能获得支持,后续则会向北京知识产权法院提起行政诉讼。王律师从事商标代理和诉讼等知识产权业务多年,据她的经验判断,目前官方打击恶意抢注的力度还是比较大的,对涉及名人姓名、知名品牌等标志的抢注通常会进行严格审查,杨瀚森的影响力和知名度非常大,他的合法权利大概率会获得国家知识产权局的支持。这些年,恶意将名人姓名抢注为商标正在成为干扰体育产业良性发展的主要乱象之一,“傍名人”可以让这些别有用心的人在短时间内获取高额利润。与此同时,目前我国对抢注名人姓名商标行为的打击相对滞后,抢注成本低、被追责后的违法成本低,这导致出现了很多体育商标抢注专业户,肆意将各种体育明星、体育赛事、体育节目抢注为商标并以此牟利,包括不限于高价转让、虚假宣传举办赛事活动、制造销售假冒体育用品。这些行为违反《商标法》、《反不正当竞争法》等法律规定,但在司法实践中仍然存在权利人的利益并没有得到最大化的保护等问题,导致引发争议。比如,体育运动员刚一出名即被抢注,而且抢注范围不局限于体育领域,比如将体育明星的商标注册类别拓展到餐饮、娱乐等领域,被追责时往往以“运动员在餐饮娱乐领域不具备较高知名度、该商标核定使用商品/服务项目跟运动员本人没有直接对应关系来辩解”。虽然官方打击和公众权利意识的提升正在压缩商标抢注这一灰色空间,但是面对频发的姓名商标抢注事件,体育明星应加强自我保护意识,提前进行商标布局,尽早完成商标注册手续,并在相关商品或服务项目、类似或非类似商标上好防御性注册,可以有效防止恶意抢注行为的发生。同时,体育明星还应加强日常监测市场工作,一旦发现抢注行为,应随时跟进商标状态,及时提出异议申请,避免自身合法权益遭受损害。

0 阅读:0
付政浩啊

付政浩啊

感谢大家的关注