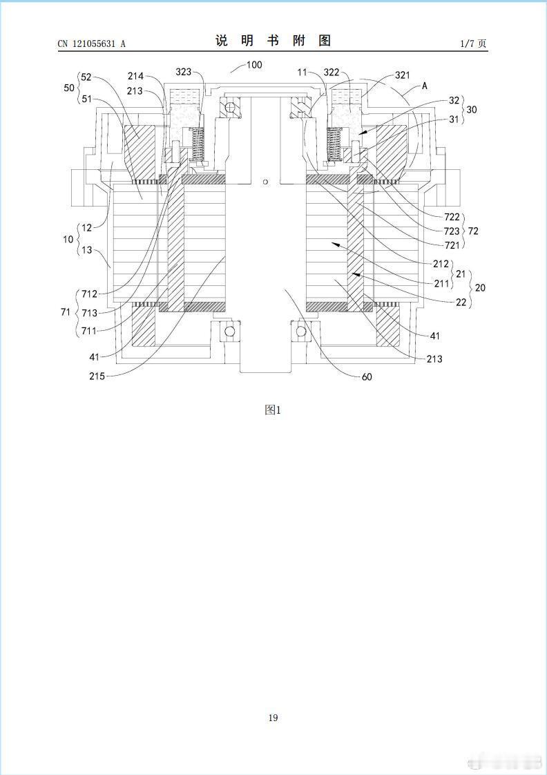
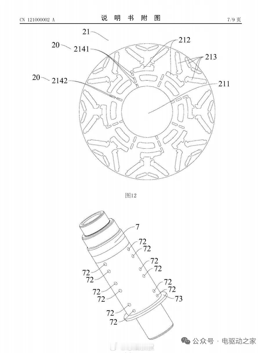
比亚迪还是牛逼的可变磁通量电机专利正式公布这电机核心是 “复合调磁” 原理:转子上的调磁组件里,主动调节流路内介质量,再结合转子旋转的离心力,驱动导磁块沿周向移动(弹性件辅助复位),精准改变导磁块与磁极的相对位置,从而调控磁场短路程度,适配从低速大转矩到高速恒功率的全工况需求,且不用额外复杂传动结构。专利中最亮眼的设计,是将 “主动介质调节” 与 “被动离心力调节” 相结合的复合调磁方案。电机转子上的调磁组件通过改变流路内介质量,驱动导磁块沿周向往复移动,再配合弹性件的预紧力,实现了导磁块与磁极相对位置的多档位、连续可调。这种设计跳出了传统电机 “固定磁场” 或 “单一维度调磁” 的思维定式 —— 导磁块跨设磁极中心线的布局,让磁场短路程度可精准匹配从低速大转矩到高速恒功率的全工况需求;而转子冲片通过错齿布置形成的轴向 - 径向连通流路,既解决了高速旋转下的介质输送难题,又无需额外增设复杂传动结构,相比发动机闭缸技术所需的液压挺柱、同步控制模块等一堆机械部件,其结构集成度和调节灵活性堪称降维打击。简单来说,就是通过复合调磁方案,达到适配从低速大转矩到高速恒功率,且不需要额外复杂的传动结构。比亚迪我与汽车的日常 广州


