【#金立创始人名下仍有多家企业存续#】据媒体报道,近日,金立创始人刘立荣消失8年

观察者网 2026-04-16 11:14:30

【#金立创始人名下仍有多家企业存续#】据媒体报道,近日,金立创始人刘立荣消失8年后最新动向曝光,疑似在印尼卖家具,其曾经赌博输掉十几亿,公司负债一度超200亿。#金立手机创始人曾赌博输掉十几亿#

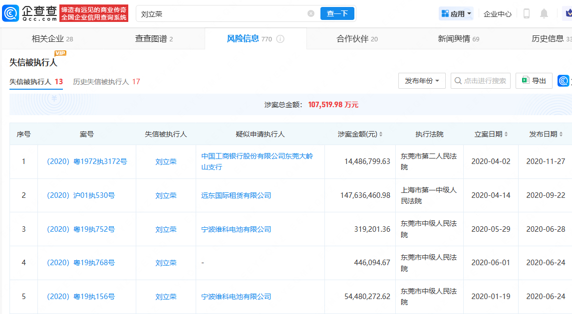
企查查APP显示,刘立荣名下关联20余家企业,其中10余家企业处于存续状态,包括金立(重庆)科技有限公司、深圳市金立通信设备有限公司、深圳市朵唯科技有限公司等,刘立荣在上述企业担任董事长、总经理等职务,其他企业已被吊销或注销。风险信息显示,刘立荣现存多条股权冻结、失信被执行人(老赖)、限制消费令信息。

企查查APP显示,刘立荣目前仍担任深圳市金立通信设备有限公司法定代表人及董事长等职务,该公司成立于2002年,注册资本2亿元。年报信息显示,该公司2016年参保人数1632人,后逐年下滑,于2019年降至21人、2020年降至0人。#金立手机创始人曾赌博输掉十几亿#

0 阅读:34
观察者网

观察者网

观察者网,提供丰富而专业的国际国内资讯。