老涛资讯网
经理人的文章
【王健林名下大连万达集团被恢复执行17亿】 企查查APP显示,近日,万达地产集团
财经
2025-12-08 12:20
【高宏斌任中国钢研科技集团董事长 中国钢研科技集团增资至46亿】 天眼查工商信息
财经
2025-12-08 11:20
【第一创业:全资子公司一创投行收到行政处罚事先告知书】 12月7日,第一创业公告
财经
2025-12-07 22:21
【深圳公积金新政发布:12月15日起增购租房提取支持,可“既提又贷”】 12月5
房产
2025-12-06 10:20
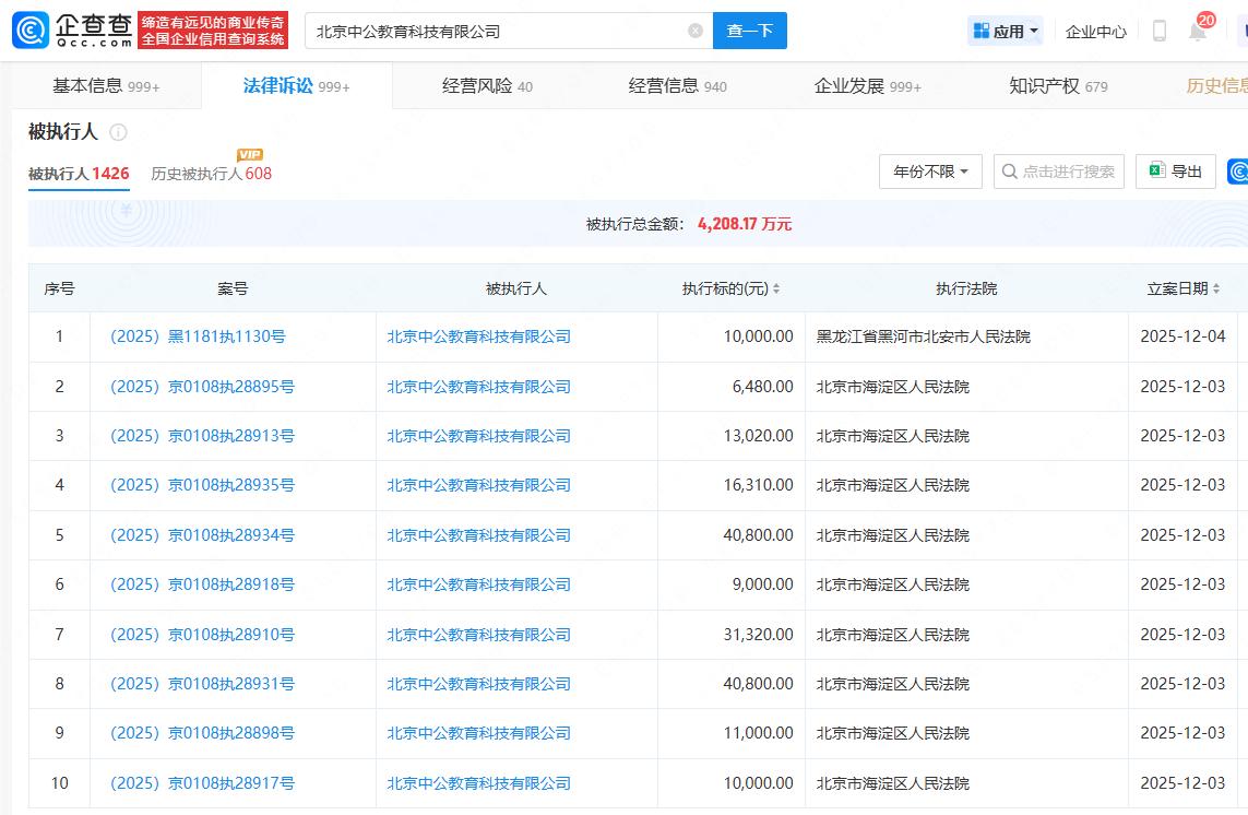
【中公教育以物抵债退落榜考生学费,中公教育被执行金额超4000万】 近日,“中公
教育
2025-12-05 14:20
【知名车评人陈震被全网多平台禁言总粉丝超2400万】陈震名下4家企业为开业状态
2025-12-05 11:20
【福建阳光集团新增资产受限及子公司被列为失信被执行人情况】 12月4日,受托管理
财经
2025-12-05 00:05
【北京链家近期接连注销多家分公司】 爱企查App显示,近日,北京链家置地房地产经
房产
2025-12-04 17:20
【陕西两家银行,同日获批解散!】 11月26日,陕西又有两家农商行获批解散! 据
财经
2025-12-04 17:20
【博纳影业被执行150万 博纳影业成被执行人】 天眼查天眼风险信息显示,近日,博
财经
2025-12-04 15:20
【永辉超市销售不合格产品被罚没8万】 天眼查App显示,近日,北京永辉超市有限公
社会
2025-12-04 15:20
【中国版LUSH破产了,沃利科技今年9月被列为经营异常】 据界面新闻报道,近日,
2025-12-04 15:20
【乐视网拟投1.8亿元炒股打新】盘点乐视网商业版图 据每日经济新闻报道,近日,已
财经
2025-12-04 15:20
【涉嫌伪证罪 韩国前总统尹锡悦再被起诉】 当地时间12月4日,韩国内乱特检组
国际
2025-12-04 15:20
【贵州百灵实控人被立案】 贵州百灵12月3日公告,公司收到公司实际控制人姜伟的通
财经
2025-12-04 14:20
【山东省农业发展信贷担保有限责任公司原党委书记、董事长张安民受贿案一审公开开庭】
2025-12-03 19:20
【万达赎回烟台芝罘万达广场 新华保险转让烟台芝罘万达广场给万达】 天眼查工商信息
社会
2025-12-03 16:20
【比亚迪负增长,理想跌三成,新能源汽车11月“洗牌战”】当岚图以超84%的同比涨
汽车
2025-12-03 15:20
【佳能中山工厂回应停产】佳能中山工厂去年仍有1656人参保 据界面新闻报道,近日
社会
2025-12-02 15:20
【盘点分34亿元股票宁波富豪商业版图,楼国强及其子女商业版图盘点,宁波富豪34亿
财经
2025-12-02 12:19
第一页
下一页
经理人
感谢大家的关注
热门分类
推荐
热榜
军事
NBA
体育
社会
明星八卦
娱乐
财经
科技
汽车
历史
国际
游戏
动漫
公益
搞笑
商业
互联网
数码
国际足球
房产
家居
时尚
科学探索
职场
育儿
股票
教育
影视
情感
热点
中国军情
武器
中国南海
中国足球
亚洲杯
科比
综合体育
CBA
投资
大咖秀
外汇
创业
风口
SUV
豪车
概念车
优惠
新能源
美国
欧洲
朝日韩
俄罗斯
孕期
街拍
婚姻
正能量