屠龙少年终成恶龙,而恶龙也终将被正义制裁!嘎子谢孟伟成老赖被限高被罚款1400万

盛世江湖百晓生 2025-10-13 23:19:06

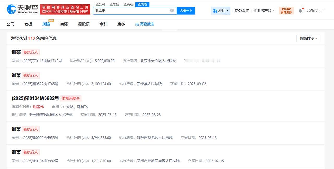
屠龙少年终成恶龙,而恶龙也终将被正义制裁!嘎子谢孟伟成老赖被限高被罚款1400万。 他这个一千四百万的债是哪来的呢,并不是因为进去了或者卖酒啥的被告了,而是四个债务案件叠加造成的。 7月因民间借贷纠纷被执行171万元。 8月,他与合作伙伴被执行约524万元。10月,他与妻子郭珊珊被执行210万元,然后又与郭珊珊、林某、祖某被恢复执行500万元,这四个案子叠加,总共被执行总额突破1400万元。 所以综合以上这些债务来看的话为什么嘎子一直在折腾,就能解释得清了他不折腾不行啊身上背的债太多了,如今他被老陈送进去之后,不能直播了也不能卖东西了加上这些债务也就是完全破产成老赖了。

0 阅读:89

评论列表

用户64xxx80

用户64xxx80

2
2025-10-14 11:47

嘎子是嘎子,谢孟伟是谢孟伟。[并不简单][并不简单]

盛世江湖百晓生

盛世江湖百晓生

感谢大家的关注